您好,欢迎访问河源再生资源网!今日是:
手机版
|
微信公众号
|
网站地图
|
加入收藏
新闻资讯
交易市场
在线回收
政策法规
行业服务
您当前位置:
首页
>
交易市场
>
价格行情
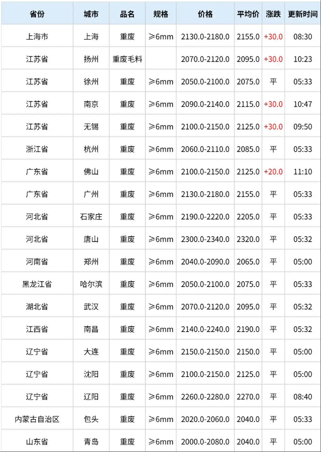
1月13日全国各地废钢价格行情
来源:再生资源信息网 时间:2026-01-13 10:10:17
保护视力色:
【字体大小:
大
中
小
】
1月13日全国各地废钢价格行情一览
分享:
打印本文
关闭页面
上一篇:
1月13日再生资源废钢价格指数
下一篇:
1月13日再生资源废纸价格指数